产品列表 PRODUCTS
产品展示您的当前位置:首页 / 产品展示
水基型灭火器

 

 

 产品介绍 >>> 手提式水基灭火器

 

 

 

 

 

 

 

 

 

 

 

 

 

 

 

 

 

MPZ/3

MPZ/6

 

 

 

 

 

 

 

 

 

 

 

 

 

 

 

 

 

 

 

 

 

 

 

 

 

 

 

 

 

 

 

 

一、禁告:
  该灭火器不可用于扑灭带电设备的火灾,否则将威胁人身安全。

二、产品介绍
  我公司生产的MPZ系列水基型灭火器是按照GB4351-2005标准进行生产,其筒体采用优质碳素钢经特殊工艺加工而成。该系列灭火器具有结构简单、操作灵活、使用方便、价格低廉等优点。广泛应用于各行各业。

三、灭火器的结构与组成
  该灭火器主要由筒体总成、器头总成、喷管总成等组成,灭火剂为水成膜泡沫预混液,驱动气体为氮气,常温下其工作压力为1.2MPa

四、主要性能特点
  1、该系列灭火器具有灭火效率高,灭火迅速等特点,内装的灭火剂具有性能稳定、无毒、无污染、便于保管等优点。
  2、使用的驱动气体无毒、无味,喷射后对人体无伤害。
  3、灭火器瓶头阀装有压力表,具有显示其内部压力的作用,便于检查维修。

五、使用范围
  1、适用于扑救易燃固体或液体的初起火灾,但不可扑救带电设备的火灾,广泛应用于油田、油库、轮船、工厂、商店等场所,是预防火灾发生保障人民生命财产的必备消防装备。
  2、使用温度范围为:+5℃+55℃

六、主要技术参数(20℃±5℃

型号

灭火剂重量kg

有效喷射时间s

有效喷射距离m

喷射滞后时间s

喷射剩余率%

发泡倍数

25%析液时间s

灭火级别

A

B

MPZ/3

≥15

≥3.0

≤5

≤15

≥5

60

1

55

MPZ/6

≥30

≥3.5

1

55

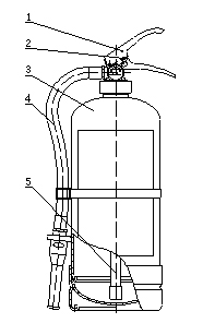
七、结构简图

1、虹吸管 2、喷筒总成 3、筒体总成  4、保险装置  5、器头总成

八、使用方法
  将灭火器提至火灾现场,拔出保险销,紧握喷射软管,压下压把,对准火焰根部,A类扫射灭火,B类覆盖灭火;放开手把,可停止喷射,从而实现间隙喷射。

九、维修保养
  1、存放环境温度为:+5℃+45℃;不得受到烈日爆晒、接近火源或受剧烈振动。
  2、灭火器应放牢靠,存放地点通风干燥。
  3、经常检查保险销及铅封是否完好,压力值是否符合要求,零部件是否松动、变形、锈蚀或损坏。
  4、灭火器期满三年后每隔二年或再充装前应检查瓶头阀、喷管等有无损坏,检查筒体是否锈蚀;并进行2.1MPa的水压试验,不合格者应进行报废处理。
  5、灭火器的维修或再充装应由有资质的专业消防维修部门进行修理,使用者不得擅自拆装或修理;具体可参阅本公司的维修手册。

 

型号规格:MPTZ/45/65
灭火剂量L45 
有效喷射时间S≥40
有效喷射距离m≥6
喷射滞后时间S≤5
喷射剩余率%:≤10
驱动氮气压力MPa1.2
灭火级别:6A  144B
使用温度:+5+55